您的當前位置:網站首頁 > 新聞中心 > 產品知識 > 浮選工藝的脫水環節的設備選用
發布時間:2012-03-29 15:50:07
更新時間:2021-06-18 15:50:07
作者:武永蘭
歡迎
在線咨詢
獲取報價清單及產品資料,賺錢從這里開始、期待您的來廠參觀!
1 浮選工藝 2 脫水環節
在浮選工藝的脫水環節對礦物的選別結果有著相當重要的作用。因此在設備的選擇上也要非常慎重。加壓過濾機是近年來推廣的一種新型效能高細粒物料脫水設備。該設備技術性能優良。而且是融合多項技術實現集中控制、自動調整的高新技術產品。其性能特點是連續工作、處理量大、產品水分低、電耗低。該設備目前有3種型式:行星式、圓筒式、圓盤式。

浮選機
行星式加壓過濾機:其煤漿槽內裝有帶6個過濾輥的旋轉主軸,每個輥上都固定有過濾部件。這些過濾輥在其軸上轉動,并沿圓周軌道運動,周期性地浸沒在煤漿內,第一臺試驗樣機于1986年研制成功,但只推廣應用兩臺,以后未見報道。
圓筒式加壓過濾機:我國第一臺試驗樣機是內濾式,過濾面積是20m2,用于處理浮選精煤,隨著該設備的技術功能不斷升級,以后也會在工業中推廣開來。國外主要用于處理有色和黑色金屬的細粒漿體。國外第一臺試驗樣機于1986年完成了工業試驗,過濾面積為96m2。
下面介紹我國研制成功的并應用于工業生產的圓盤式加壓過濾機的工作原理、結構組成、技術特征、影響加壓過濾效果的有關因素及應用情況。
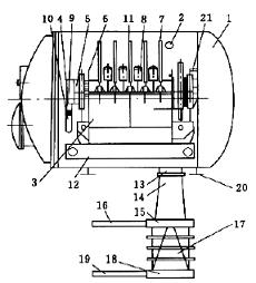
圖1 圓盤式加壓過濾機工作原理
圓盤式加壓過濾機是將一臺特制的盤式過濾機裝入一個臥式壓力容器中,工作時向壓力容器內充以0.3MPa左右的壓縮空氣,盤式過濾機在此壓力下進行過濾、脫水和卸料等工序,濾餅卸落后由壓力容器內的刮板運輸機集中運往密封排料閥。該閥由上下兩倉組成,兩倉交替工作,每倉都有獨立的密封裝置和排料閘板,整個生產過程都是在密閉的壓力容器中進行,工作步驟與程序復雜,控制點多。全機采用了自動調節和自動控制系統。
除了主機以外,尚有液壓系統、高壓風機、低壓風機、給料泵、各種風動、電動閘門及給料機和運輸機等輔助設備,參見圖2
圖2 圓盤式加壓過濾機工藝系統示意圖
要現在過濾機工作的情況下改善過濾效果,更有效的方法就是提高過濾壓差,壓差對不同物料濾餅水分的影響如圖3所示。但要把真空狀態下使用的盤式過濾機改為正壓狀態下過濾,并應用到工業生產中卻難度很大,主要體現在兩個方面:其一是由于過濾壓差增大,過濾速度加快,對于過濾機的結構和性能提出一些要求;其二是在壓力密封條件下,要將濾餅順利排出且阻止壓氣逸出,也對加壓過濾技術提出更高的要求。
圖3 壓差對不同物料濾餅水分的影響
圓盤加壓過濾機較好地解決了上述兩個技術難題,因此該設備在選煤生產中有廣泛的應用。該機比較適用于0-0.5mm浮選精煤及細粒煤泥脫水作業,也可用于黑色金屬及有色金屬精礦脫水,以及化工、輕工、環保等工業部門固液分離。
下一篇:浮選機常見的20個問題解答
![]()
![]()
在線留言想了解價格?產量?型號?售后?請留言,我們第一時間為您回復